简介:可提供娱乐的产品
应用范围:DVD播放机、电视机、音响、游戏机、摄像机、照相机、电视游戏机、家庭影院、电话、电话应答机
应用实例:
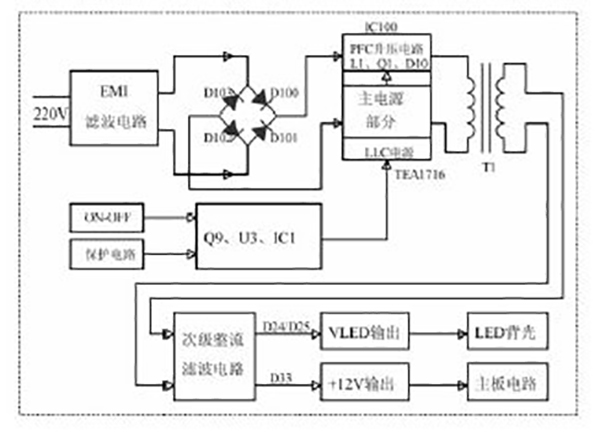
典型应用电路:
Copyright © 2025 台集通半导体 版权所有